苹果展示新专利:iPhone摄像头凸起问题有救了
科技媒体AppleInsider报道,苹果公司近期释放出了一项技术专利的实现方式,通过折叠式相机镜头的方式,可隐藏iPhone背面镜头的凸起。
该专利名为《带移动光学元件致动器的折叠相机》,苹果公司在专利中概述了多种方法,计划在未来的iPhone中融入折叠光学元件和镜头移动功能。
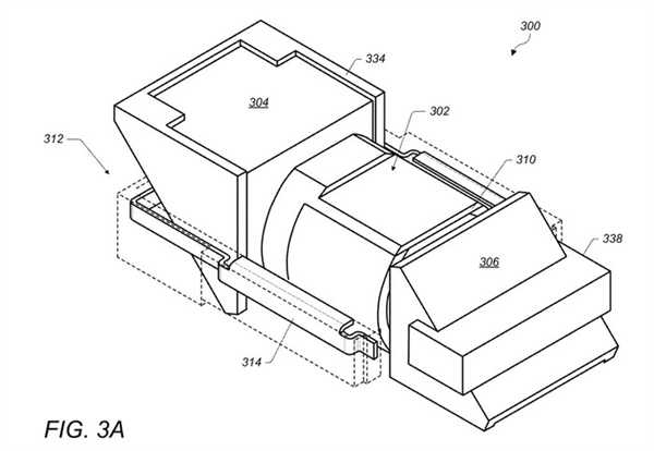
部分专利设计草图如下,在其中的一个示例中,苹果描述了由两个棱镜组成的系统,两个棱镜之间配备多个元件的透镜组。
棱镜将光沿着轴转向到成像传感器,而透镜组处理各种光学功能。透镜组可以保持在内部载体结构中,内部载体结构本身连接到外部载体结构。两个结构都可以移动,从而减少镜头厚度。
此外专利中的另一个案例还引入了电机致动器,可以根据拍摄场景需求移动两个载体,实现自动对焦。
第二和第三VCM致动器可用于使内部载体结构相对于外部载体结构移位,提高光学图像稳定性。
编辑点评:
也许苹果是在卡片机上获得的灵感,索尼的黑卡系列的卡片机就可以通过伸缩结构的设计就行对摄像头的完全隐藏,使之便于携带。苹果若是将该技术落地,定会引起摄影装置的升级狂潮。
- 全部评论(0)
15015654286 评论 科大讯飞星火认知大:大家好 期待
18458407950 评论 科大讯飞星火认知大:期待期待
17872407701 评论 科大讯飞星火认知大:好期待呀!
13869842415 评论 实践:更改“地区”:不同地区可用信道不同,澳大利亚属于可用信道很多的地区,所
13869842415 评论 实践:更改“地区”:abc就打不动我i大
15015654286 评论 火山引擎增长课堂 新:期待 期待
18139341200 评论 火山引擎增长课堂 新:多多的了解
- 1.小米新十年的关键跨越:战略升级「人车家全生态」,小米澎湃OS、小米14系列等重磅首发
- 2.百万跑分+游戏满帧 Redmi Note 12 Turbo发布
- 3.越级新标杆 “轻薄长续航 越级大内存”vivo Y100正式发布
- 4.蔡司影像,心临其境 vivo X100系列正式发布
- 5.自主研发与开放合作并举 vivo新技术亮相双芯x影像技术沟通会
- 6.产品力超越所有骁龙8Gen3 Pro版旗舰 十年超越之作一加12正式发布
- 7.杭州亚运会电竞赛事官方用机 超级标准版iQOO 11S正式发布
- 8.高性价比年度质感旗舰 真我GT2大师探索版正式发布
- 9.设计性能体验全面提升 vivo X Fold+折叠屏正式发布
- 10.一样好,又好不一样 vivo X Fold2|X Flip旗舰折叠新品正式发布












内存、闪存涨价25%是开始!1T、12/16/
170万跑分+6000mAh电池 这手机就是来捣乱
一加宣布全球首发高通最强中端处理器
3月发布会大盘点:科技新品齐亮相 小
天玑之王!联发科天玑9300+来了


