三星科幻专利曝光 由眼球控制的无人机
据LetsGoDigital公布的信息,三星目前获得了一项最新专利——一款可以检测到人脸、眼球、手势以及姿势的无人机。
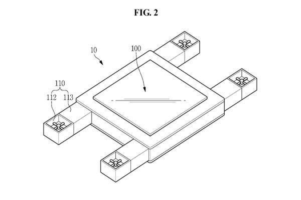
这款无人机包括照相机和将具有传输功能的观测系统。观测系统可以实时跟踪到用户眼球、头部、手部或手指的运动。用户可以通过动动头、眼睛、手指来控制无人机飞行速度和方向,听起来还是挺酷的。
图3是该无人机的侧视图,详细的展示了可以改变飞行角度的“联合操纵器”。“联合操纵器”包括陀螺仪传感器,运动传感器,振动系统,加速器在不在其中还不得知。同时,这款无人机可能还具备语音识别功能和基于Wi-Fi的定位系统。
图4显示了关节操纵器(113)和控制飞行方向的螺旋桨。这款无人机还配备了一个障碍检测功能,可以自动避开其他物体。
以上图片中,实线部分是三星公开宣布无人机所配备的功能,虚线部分则是其余部分的外观。
三星并不是唯一一个投入无人机研发的公司,亚马孙也得到了一系列无人机专利。
而三星无人机投入到广告中使用的可能性更大,它可以通过检测用户的身体特征来判断喜好,然后再为其提供相应的商品广告。这样想,它的“钱”景相当好啊。


